Los transformadores trifásicos son más económicos para suministrar grandes cargas y una gran distribución de energía. Aunque la mayoría de los equipos de utilización están conectados por transformadores monofásicos, estos no son preferidos para una gran distribución de energía en el aspecto económico.
La energía trifásica se utiliza en casi todos los campos del sistema de energía eléctrica, como los sectores de generación, transmisión y distribución de energía, también todos los sectores industriales se suministran o se conectan con un sistema trifásico. Por lo tanto, para aumentar (o aumentar) o reducir (o disminuir) los voltajes en los sistemas trifásicos, se utilizan transformadores trifásicos. En comparación con el transformador monofásico, existen numerosas ventajas con el transformador trifásico, por ejemplo, más pequeño y liviano para construir con la misma capacidad de manejo de potencia, mejores características de operación, etc.

Transformador trifásico
Contenido
- 1 Transformador trifásico
- 2 Construcción de transformadores trifásicos
- 3 Construcción del tipo de núcleo
- 4 Construcción del tipo de carcasa
- 5 Trabajo de transformadores trifásicos
- 6 Conexiones trifásicas del transformador
- 7 Estrella-Delta Connection
- 8 Delta: conexión en estrella
- 9 Delta-delta
- 10 Estrella-Conexión estrella
- 11 Scott Connection
- 12 Ventajas de los transformadores trifásicos
- 13 Desventajas de los transformadores trifásicos
Transformador trifásico
Los transformadores trifásicos se utilizan para subir de nivel o avanzar por los altos voltajes en varias etapas del sistema de transmisión de potencia. La energía generada en varias estaciones generadoras está en naturaleza trifásica y los voltajes están en el rango de 13.2KV o 22KV. Para reducir la pérdida de potencia en el extremo de distribución, la potencia se transmite a tensiones algo mayores, como 132 o 400 KV. Por lo tanto, para la transmisión de la potencia a voltajes más altos, se usa un transformador elevador trifásico para aumentar el voltaje. También al final de la transmisión o distribución, estos altos voltajes son reducidos a niveles de 6600, 400, 230 voltios, etc. Para esto, se utiliza un transformador reductor trifásico.
A tres el transformador de fase se puede construir de dos maneras; un banco de tres transformadores monofásicos o una sola unidad de transformador trifásico.
El primero se construye conectando adecuadamente tres transformadores monofásicos que tienen las mismas capacidades y características de operación. En este caso, si la falla ocurre en cualquiera de los transformadores, el sistema aún retenido a capacidad reducida por otros dos transformadores con conexión delta abierta. Por lo tanto, la continuidad del suministro se mantiene mediante este tipo de conexión. Estos se utilizan en minas porque es más fácil transportar transformadores individuales de fase.

En lugar de utilizar tres transformadores monofásicos, se puede construir un banco trifásico con un solo transformador trifásico que consta de seis devanados en un núcleo común con varias patas. Debido a esta unidad única, el peso y el costo se reducen en comparación con tres unidades de la misma capacidad y también bobinados, la cantidad de hierro en el núcleo y los materiales de aislamiento se guardan. El espacio requerido para instalar una sola unidad es menor en comparación con el banco de tres unidades. Pero la única desventaja del transformador trifásico de una sola unidad es que si la falla ocurre en cualquiera de las fases, entonces toda la unidad debe ser eliminada del servicio.
Transformador trifásico
Construcción de transformadores trifásicos
Se puede construir un transformador trifásico utilizando un núcleo magnético común para los devanados primario y secundario. Como discutimos en el caso de los transformadores de una sola fase, la construcción puede ser de tipo núcleo o tipo carcasa. Por lo tanto, para un banco de transformadores de tres núcleos, se combinan tres transformadores de fase única. De manera similar, se obtiene un banco de transformador de tipo de carcasa trifásica combinando de forma adecuada tres transformadores monofásicos de tipo carcasa. En un transformador tipo carcasa, el núcleo laminado EI rodea las bobinas, mientras que en el núcleo, la bobina rodea el núcleo.
Construcción del tipo de núcleo
En el núcleo, transformador trifásico, el núcleo está compuesto por tres extremidades o piernas y dos yugos. El camino magnético se forma entre estos yugos y extremidades. En cada extremidad, tanto el devanado primario como el secundario están heridos concéntricamente. Las bobinas cilíndricas circulares se utilizan como devanados para este tipo de transformador. Los arrollamientos primario y secundario de una fase están heridos en una pierna. En condiciones equilibradas, el flujo magnético en cada fase de la pierna se suma a cero. Por lo tanto, en condiciones normales, no se necesita una pierna de retorno. Pero en el caso de cargas desbalanceadas, circula mucha corriente circulante y, por lo tanto, puede ser mejor utilizar tres transformadores monofásicos.

Construcción del tipo de carcasa
En el tipo de shell, tres fases son más independiente porque cada fase tiene un circuito magnético independiente en comparación con el transformador de núcleo. La construcción es similar al transformador del tipo de carcasa monofásico construido sobre otro. Los circuitos magnéticos de este tipo de transformador están en paralelo. Debido a esto, se descuidan los efectos de saturación en las rutas magnéticas comunes. Sin embargo, los transformadores construidos de tipo concha rara vez se usan en la práctica.

Tipo de shell
Trabajo de transformadores trifásicos
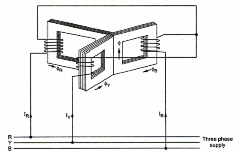
Considere la siguiente figura en la cual el primario del transformador está conectado en forma de estrella en los núcleos. Para simplificar, solo se muestra el bobinado primario en la figura que está conectada a través del suministro trifásico de CA. Los tres núcleos están dispuestos en un ángulo de 120 grados entre sí. La pata vacía de cada núcleo se combina de forma que formen la pierna central como se muestra en la figura.

funcionamiento de un transformador
Cuando el primario se excita con la fuente de suministro de tres fases, las corrientes IR, IY y IB comienzan a fluir a través de devanados de fase individuales. Estas corrientes producen los flujos magnéticos ΦR, ΦY y ΦB en los núcleos respectivos. Como la pata central es común para todos los núcleos, la suma de los tres flujos es transportada por ella. En el sistema de tres fases, en cualquier instante la suma del vector de todas las corrientes es cero. A su vez, en el instante la suma de todos los flujos es la misma. Por lo tanto, la pierna central no lleva ningún flujo en ningún momento. Entonces, incluso si se quita la pata central, no hay diferencia en otras condiciones del transformador.
Del mismo modo, en un sistema trifásico donde dos conductores actúan como retorno de la corriente en el tercer conductor, cualquier dos piernas actúa como una ruta de retorno del flujo para la tercera pierna si se retira la pata central en el caso de un transformador de tres fases. Por lo tanto, al diseñar el transformador trifásico, se utiliza este principio.
Estos flujos inducen los campos electromagnéticos secundarios en la fase respectiva, de modo que mantienen su ángulo de fase entre ellos. Estos EMF impulsan las corrientes en el secundario y, por lo tanto, a la carga. Depende del tipo de conexión utilizada y del número de vueltas en cada fase, la tensión inducida variará para obtener un aumento o un descenso de los voltajes.
Conexiones trifásicas del transformador
Como se discutió anteriormente, ya sea por un solo transformador trifásico o por una combinación de tres transformadores monofásicos, se pueden llevar a cabo transformaciones trifásicas. La forma de conectar los devanados para la transformación trifásica es la misma ya sea que se utilicen los tres devanados de un transformador trifásico o tres devanados de tres transformadores monofásicos. Los devanados primario y secundario están conectados de diferentes maneras, como en delta o estrella o combinación de estos dos. Las clasificaciones de voltaje y corriente del transformador trifásico dependen de una conexión adecuada. Las conexiones más utilizadas son
- Estrella-delta
- Delta-estrella
- Delta-delta
- Estrella-estrella
Estrella-Delta Connection

Este tipo de conexión se usa comúnmente para disminuir los voltajes a un valor más bajo en las subestaciones terminales de transmisión. Las empresas de servicios usan esta conexión para reducir los niveles de voltaje de los sistemas de distribución.
- En esto, el devanado primario del transformador se conecta en estrella y secundario en conexión delta.
- El punto neutro en el lado primario o de alta tensión puede conectarse a tierra, lo que es deseable en la mayoría de los casos.
- La relación de voltaje de línea entre secundario y primario es 1/√3 veces la relación de transformación de cada transformador.
- Existe una diferencia de fase de 30 grados entre los voltajes de línea primario y secundario.
- Dado que el voltaje de la bobina primaria real es el 58% del voltaje de la línea primaria, los requisitos de aislamiento para los devanados de alto voltaje utilizando este bobinado.
- En esta conexión, se obtienen tensiones trifásicas equilibradas en el lado secundario o en el lado izquierdo, incluso cuando las corrientes desbalanceadas fluyen en el lado primario o de alta tensión debido al cable neutro. La conexión a tierra del cable neutro también proporciona protección contra sobretensiones.
Delta: conexión en estrella

- Esta conexión se usa para aumentar el nivel de voltaje y se emplea comúnmente en el envío o el arranque del sistema de transmisión de alta tensión.
- En esto, el primario se conecta en modo delta y secundario en modo estrella, de modo que es posible un sistema trifásico de 4 hilos en el secundario.
- El voltaje secundario de la carga es √3 veces la tensión primaria conectada delta. Además, la carga y las corrientes secundarias serán las mismas debido al mismo circuito en serie.
- Esta conexión proporciona tres circuitos monofásicos a tensiones más bajas y más altas y un circuito trifásico a mayor voltaje, de modo que solo y tres se pueden suministrar cargas de fase.
- Se obtienen tensiones duales de estrella delta. Los voltajes monofásicos bajos se obtienen mediante el cableado entre cualquier fase y tierra. Se obtienen tensiones monofásicas más altas mediante el cableado entre dos fases cualquiera. Y conectando las tres fases a la carga, se obtiene el voltaje trifásico.
- El requisito de aislamiento en el lado de alta tensión se reduce debido a la estrella (menos número de vueltas por fase) conectada a la secundaria.
- Similar a la estrella-delta, esta conexión crea una diferencia de fase de 30 grados entre los voltajes de línea primario y secundario.
- Al usar esta conexión, no es posible conectarla en paralelo con delta-transformadores delta y estrella-estrella debido a la diferencia de fase de tensión primaria y secundaria.
Delta-delta

- Este tipo de conexión se usa cuando la fuente de suministro está conectada delta y la carga secundaria necesita una sola tensión con alta corriente. Esto generalmente se emplea para cargas de potencia trifásicas (como el motor trifásico).
- En esto, tanto los devanados primarios como secundarios están conectados en forma delta.
- El voltaje a través de la carga es igual a la tensión secundaria y la tensión a través del devanado primario es igual a la tensión de la fuente. En esto, el flujo de corriente a través de la carga será 1.732 veces la corriente secundaria y la corriente del alimentador será igual a las 1.732 veces la corriente a través del devanado primario. Debido a estas altas corrientes de carga y alimentación, se recomienda colocar el transformador mucho más cerca de los circuitos de fuente y carga.
- En esto, no existe diferencia de fase entre los voltajes primario y secundario.
- Las tensiones trifásicas permanecen constantes incluso con carga desequilibrada, lo que permite una carga desequilibrada.
- La principal ventaja de esta conexión es si el transformador está defectuoso o quitado para el servicio (conexión delta abierta), luego los otros dos transformadores continúan entregando la energía de fase a una capacidad de carga reducida.
Estrella-Conexión estrella

- En esto, ambos devanados primario y secundario están conectados en forma de estrella y tampoco existe diferencia de fase entre los voltajes primario y secundario.
- En esto, la corriente que circula a través de los devanados primario y secundario son iguales a las corrientes de las líneas a las que están conectadas (fuente de suministro y carga). Y los voltajes entre las fases de línea en cada extremo equivalen a 1.732 veces los voltajes de bobinado respectivos.
- Debido a la disponibilidad neutra, es adecuado para un sistema trifásico de cuatro hilos.
- Este tipo de conexión es satisfactoria funciona si la carga está equilibrada. Pero si la carga está desequilibrada, el desplazamiento del punto neutro provoca voltajes de fase desiguales.
- Grandes tensiones de tercer armónico aparecerían en los devanados primario y secundario sin el enlace neutral. Esto puede provocar fallas en el aislamiento.
- Esta conexión genera una interferencia considerable en las líneas de comunicación y, por lo tanto, con esta configuración de conexión, las líneas telefónicas no pueden funcionar en paralelo.
- Debido a estas desventajas, la conexión estrella-estrella rara vez se utiliza y no se emplea en la práctica.
Scott Connection
- Esta conexión se usa para convertir la energía trifásica en energía de dos fases utilizando dos transformadores monofásicos.
- Un transformador llamado transformador principal con centro o toma de 50 por ciento y está conectado entre las dos líneas de los cables de tres fases. El otro transformador llamado transformador teaser tiene 86,6 derivaciones y está conectado entre el cable de la tercera fase y el 50 por ciento del transformador principal.
- El secundario de cada transformador proporciona las fases de los sistemas de dos fases.
- Las tensiones secundarias en los dos transformadores serán iguales en magnitud si ambos transformadores están enrollados para el mismo número de vueltas en el secundario. Y los voltajes producidos están 90 grados desfasados entre sí.
- Esta conexión se usa principalmente para alimentar el motor de dos fases.

Ventajas de los transformadores trifásicos
- Al estar precableados y listos para instalar, estos pueden ser más fáciles de instalar.
- Para proporcionar el mismo KVA, el material del núcleo requerido es muy inferior en comparación con un banco de tres transformadores monofásicos.
- Es más ligero y más pequeño.
- Requiere menos espacio para instalar.
- Mayor eficiencia
- Baja costo en comparación con tres unidades de transformadores monofásicos.
- El transporte es fácil y también el costo de transporte es menor.
- La estructura de barras de distribución y la instalación de interruptores para una sola unidad trifásica es más simple.
- Solo se requieren tres terminales en caso de un transformador trifásico en comparación con seis terminales de tres transformadores monofásicos.
Desventajas de los transformadores trifásicos
En caso de falla o pérdida de una fase, se produce el cierre completo de la unidad. Esto se debe a que en un transformador trifásico, un núcleo común se comparte para las tres unidades. Si una unidad es defectuosa, el núcleo de esta unidad defectuosa se saturará inmediatamente debido a la ausencia de un campo magnético opuesto. Esto provoca un mayor escape de flujo magnético a las cajas metálicas del núcleo. Esto aumenta aún más el calentamiento de las partes metálicas y en algunos casos este calor sería suficiente para causar incendios. Por lo tanto, un transformador trifásico (o una unidad completa) debe cerrarse si alguna fase es defectuosa.
- El costo de reparación es más para el transformador trifásico.
- restablecer el servicio, el costo de la unidad de repuesto es mayor en comparación con una sola unidad de repuesto del transformador.
- Cuando se refrigeran por sí mismos, la capacidad del transformador se reduce.